Шумът и звуците от смилане, когато барабанът на пералната машина се върти, показват потенциални проблеми с работата му. Ако чуете скърцащ или пукащ звук, важно е да разберете защо се случва това и да вземете подходящи мерки. Нека да разгледаме възможните причини за шума в пералната машина, когато барабанът се върти и да предложим препоръки за отстраняване на проблемите.
Възможни причини за скърцане в пералнята
Ако пералнята издава необичайни звуци, има шум от смилане или скърцане, трябва да определите причината за това явление. Проблемите, които причиняват шум, са различни.Затова се препоръчва да научите за често срещаните причини, които водят до почукване или пращене.
Барабанът скърца при въртене
Скърцане или скърцане по време на работа на пералнята може да означава проблем със самия барабан. Това може да е причинено от триене между барабана и неговите лагери или износени лагери. Този скърцащ шум показва необходимостта от поддръжка или подмяна на компоненти.

Отслабване на вала
Ако валът на пералната машина е разхлабен, това може да причини скърцане или тропане, докато барабанът се върти. Това често се дължи на неправилен монтаж, износени крепежни елементи или проблеми с лагерите. Проверете закрепването на вала и, ако е необходимо, го затегнете или сменете износените компоненти.

Дребни неща са попаднали в барабана
Понякога скърцащите звуци във вашата пералня се причиняват от малки предмети като копчета, монети или ключалки в барабана. При въртене тези предмети предизвикват шум и скърцане. Проверете барабана за чужди предмети и ги отстранете, за да отстраните причината за скърцането.

Разтегнат задвижващ ремък
Задвижващият ремък на пералната машина е отговорен за предаването на движение от двигателя към барабана. Ако коланът е опънат или износен, това може да причини скърцане и други шумове, когато машината се върти или върти. В този случай задвижващият ремък трябва да бъде сменен.

Скърцане на амортисьори и пружини
Амортисьорите и пружините в пералнята се използват за омекотяване и поддържане на барабана. Ако са износени или повредени, това може да причини скърцащи звуци, когато барабанът се върти или върти. Проверете състоянието на амортисьорите и пружините и ги сменете, ако е необходимо.

Скърцане в ставите на тялото
Съединенията на корпуса на шайбата могат да причинят скърцащи или скърцащи звуци, ако са разхлабени или изискват смазване. Проверете ставите и ги затегнете или нанесете смазка, ако е необходимо, за да премахнете звука.
Разрушаване на лагерния възел
Лагерният възел в пералнята осигурява плавно въртене на барабана. Ако лагерите са износени или повредени, това може да причини скърцане или скърцане. Обикновено подмяната на лагерите изисква да се свържете със специалист или сервизен център.

Дисбаланс
Ако барабанът на пералнята не е балансиран, това ще доведе до скърцане или почукване, когато се върти. Неравномерното разпределение на прането в барабана може да причини дисбаланс. Опитайте да преразпределите прането вътре в машината. Ако проблемът продължава, може да се наложи балансиращите механизми да бъдат проверени и регулирани.
Неправилно позиционирано тяло
Ако корпусът не е монтиран или закрепен правилно, пералнята скърца, когато барабанът се върти. Проверете дали корпусът е монтиран правилно и, ако е необходимо, коригирайте позицията му или го закрепете по-здраво.
Износени амортисьори
Амортисьорите в пералнята се използват за абсорбиране на вибрации и удари по време на работа на барабана. Ако амортисьорите са износени, това ще доведе до скърцане, чукане или неправилно функциониране на машината. Сменете износените амортисьори, за да коригирате този проблем.
Неправилен монтаж
Неправилното монтиране на пералнята, особено на неравна повърхност, може да доведе до скърцане и тропане при работа на барабана. Уверете се, че конструкцията е монтирана на равна и стабилна повърхност и използвайте регулируеми крачета или подложки за нивелиране.

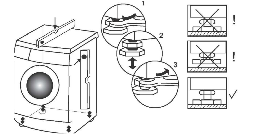
Транспортните болтове не са развити
Пералните се доставят с транспортни болтове, които закрепват барабана по време на транспортиране. Ако тези болтове не са отстранени правилно преди първото стартиране на машината, те ще причинят скърцащи или скърцащи звуци по време на работа. Проверете дали всички транспортни болтове са разхлабени и отстранени.

Неравномерно разположение на противотежестите
Противотежестите в пералната машина се използват за балансиране на барабана и намаляване на вибрациите. Ако противотежестите не са подравнени или са повредени, машината ще причини скърцане, тропане или вибрации по време на работа. Проверете състоянието и правилното разположение на противотежестите.
Уплътнението не отговаря на размера на люка
Гуменият О-пръстен, който заобикаля вратата на пералнята, трябва да е с правилния размер и да пасва плътно. Ако уплътнението е повредено, огънато или не пасва правилно, това ще причини скърцащи или стържещи шумове по време на работа. Сменете уплътнението, за да разрешите този проблем.

Противотежестта е разхлабена
Противотежестта на пералната машина, която компенсира вибрациите на барабана, може да се разхлаби или да отслабне с времето. Проверете състоянието на монтажа на противотежестта и затегнете болтовете, ако е необходимо.
Разхлабване на макарата
Макарата, която свързва двигателя и задвижващия ремък, може да се разхлаби или да се размести поради неправилен монтаж или износване. Ако елементът не е здраво закрепен, това може да причини скърцане или тропане, когато пералната машина работи. Оценете състоянието и пасването на шайбата и я затегнете или сменете, ако е необходимо.
Повредени лагери
Лагерите, които позволяват на барабана да се върти гладко, могат да се повредят поради износване или неправилна поддръжка.Повредените лагери причиняват скърцане, тропане или вибрации, когато пералнята работи. Ако такива части са повредени, те трябва да бъдат сменени, за да се коригира проблемът. Свържете се със специалист или сервизен център за ремонт.
Възможно ли е сами да отстраните причината за шума?
Много собственици на перални машини искат сами да идентифицират и отстранят проблема. Това спестява пари и време и няма нужда да се притеснявате за транспортиране на оборудването до сервиз.
Някои проблеми могат лесно да се справят сами. Един старателен подход ще помогне за възстановяване на функционалността на пералня от всяка марка: Beko, LG, Samsung и други и ще премахне ненужните звуци.
Как мога да поправя това?
Ако машината скърца по време на цикли на въртене или издава звуци от смилане при други работни цикли, това показва, че има проблеми в структурата. С някои всъщност можете да се справите сами у дома с минимален опит.
Маншет
Ако шумът е причинен от износен или повреден маншет, можете да го смените сами у дома.
Първо изключете пералнята и я извадете от източника на захранване. След това внимателно отстранете стария маншет, като отворите вратата на пералнята.
Поставете новия маншет, като се уверите, че е подравнен и здраво закрепен. Обърнете се към вашето ръководство за употреба или видео инструкции, за да се уверите, че следвате всички стъпки правилно.
Пружини и амортисьори
Ако скърцането е причинено от отслабени или повредени пружини или амортисьори, те също могат да бъдат сменени у дома. За да направите това, трябва да отворите задния панел на пералнята, за да получите достъп до пружините и амортисьорите.
Отстранете старите пружини и амортисьори и монтирайте нови според инструкциите на производителя. Уверете се, че всички връзки са стегнати и не предизвикват допълнителен шум.
Задвижващ ремък на двигателя
Ако задвижващият ремък на двигателя е разтегнат или повреден, можете да го смените сами. Отворете задния панел на пералнята, за да получите достъп до необходимата част.
Отстранете стария ремък, като обърнете внимание на това как е монтиран и монтирайте новия на съответните ролки. Уверете се, че ремъкът е опънат правилно, за да осигурите правилна работа на задвижването.

Чужд обект
Ако скърцането е причинено от наличието на чужд предмет в пералнята, трябва внимателно да проверите барабана за неговото присъствие. Ако намерите някакъв предмет, премахнете го, за да избегнете допълнителни проблеми.

Луфт на вала
Ако причината за скърцането е луфт във вала, може да се наложи регулиране или подмяна на свързаните компоненти. Такава работа изисква определени умения и инструменти, така че се препоръчва да се свържете с професионалист или оторизиран сервизен център за извършване на ремонт. Понякога можете да опитате да премахнете хлабината, като регулирате позицията на машината.
Частите на тялото са подвижни
Ако шумът е причинен от движение на някои части на корпуса, трябва да проверите закопчалките и да ги закрепите, ако е възможно. Използвайте отвертка или други подходящи инструменти, за да закрепите здраво всички движещи се части и да намалите шума.
Лагери
Смяната на лагерите често е сложна процедура и изисква специални инструменти. Ще трябва да идентифицирате проблема, да изберете правилния заместител и да инсталирате решение.Препоръчително е лагерите да бъдат проверени и сменени от квалифициран техник или сервизен център.
Какво да направите, за да премахнете шума и пукането в помпата
Често в помпата на пералната машина се появяват шумове и външни звуци. Този проблем може да бъде диагностициран и отстранен без помощта на професионалисти.
Проверка на дренажния филтър
Шумът и пукането в помпата на пералната машина могат да бъдат причинени от запушен дренажен филтър. Този елемент се намира отпред или отдолу на машината, до помпата.
За да проверите дренажния филтър, следвайте инструкциите на производителя на пералната машина. Трябва да изключите устройството, да го изключите от източника на захранване, да отворите капака или да свалите предния панел и да проверите филтъра за запушвания.
Ако филтърът е запушен, почистете го от мръсотия, косми или други препятствия. Уверете се, че е инсталиран правилно след почистване.

Проверка на тръбата и маркуча
Ако дренажният филтър не е запушен, следващата стъпка е да проверите тръбата и маркуча, които свързват помпата с други компоненти на пералната машина. Уверете се, че тръбата и маркучите не са прегънати или притиснати. Проверете за препятствия, като натрупвания на мръсотия или препарат за пране, и ги почистете, ако е необходимо. Също така се уверете, че всички връзки са стегнати и няма течове.
Ако се установи повреда на тръбата или маркучите, те ще трябва да бъдат сменени.
Ако помпата продължава да издава шум или да трака след тези проверки, препоръчително е да се свържете с професионален техник или сервизен център за допълнителна диагностика и ремонт.

Предотвратяване на запушвания, така че помпата да не издава шум
Следните процедури ще помогнат за предотвратяване на запушвания и шум в помпата на пералната машина:
- Редовно почистване на дренажния филтър.Дренажният филтър е първата бариера, която предотвратява навлизането на големи предмети и мръсотия в помпата. Проверявайте и почиствайте редовно филтъра според инструкциите на производителя. Това ще предотврати запушването на помпата и ще подобри нейната работа.
- Проверка на джобове. Преди да изперете внимателно проверете джобовете на дрехите си, за да се уверите, че в тях няма малки предмети като монети, копчета или ключалки. Тези предмети могат да се хванат в барабана и да влязат в помпата, причинявайки задръствания и шум. Извадете всички предмети от джобовете преди пране.
- Предварителна обработка на мръсни дрехи. Ако дрехите ви са силно замърсени с мръсотия или пясък, препоръчително е да ги изплакнете предварително или да ги изтръскате навън, за да премахнете излишните частици мръсотия. Това ще помогне да се предотврати попадането на големи замърсители в барабана и помпата.
- Използване на специални средства. За да предотвратите натрупването на масло, мазнини и отлагания във вашата перална машина, използвайте редовно специални препарати или добавки за почистване на вашата перална машина. Те ще поддържат вашата помпа чиста и ефективна.
- Проверка и почистване на тръби и маркучи. Проверявайте редовно тръбите и маркучите, които свързват помпата с другите компоненти на пералната машина. Уверете се, че не са усукани, прищипани или запушени с мръсотия или отломки. Ако бъдат открити препятствия, почистете тръбите и маркучите.
- Правилно използване на пералнята. Следвайте препоръките на производителя за максимално количество пране, за да избегнете претоварване на барабана. Претовареният барабан може да причини неравномерно разпределение на прането и да увеличи риска от запушване на помпата.
Следването на превантивни мерки ще помогне за предотвратяване на запушвания и шум в помпата на вашата перална машина, като гарантира по-ефективна работа и по-дълъг живот на машината.